VIVO“铰链机构和电子设备”专利公布

来源:爱集微 #VIVO#
8861

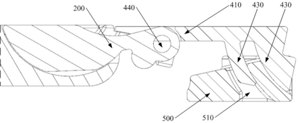
天眼查显示,维沃移动通信有限公司“铰链机构和电子设备”专利公布,申请公布日为2025年3月21日,申请公布号为CN119664787A。

本申请公开一种铰链机构和电子设备,属于电子设备领域,铰链机构包括基座、第一摆臂、第二摆臂、门板、壳体连接件和同步轴,其中,所述基座设有第一转动槽,所述第一摆臂的第一端与所述第一转动槽转动连接,所述第一摆臂的第二端与所述门板转动连接,所述门板远离所述第一摆臂的一端与所述壳体连接件转动连接;所述第二摆臂与所述基座通过所述同步轴转动连接,且所述第二摆臂与所述壳体连接件滑动配合,所述第二摆臂与所述第一摆臂联动设置,以在所述第二摆臂相对所述基座转动的过程中,带动所述第一摆臂和所述门板一并相对基座转动。

责编: 爱集微
来源:爱集微 #VIVO#
THE END

*此内容为集微网原创,著作权归集微网所有,爱集微,爱原创

关闭
加载

PDF 加载中...